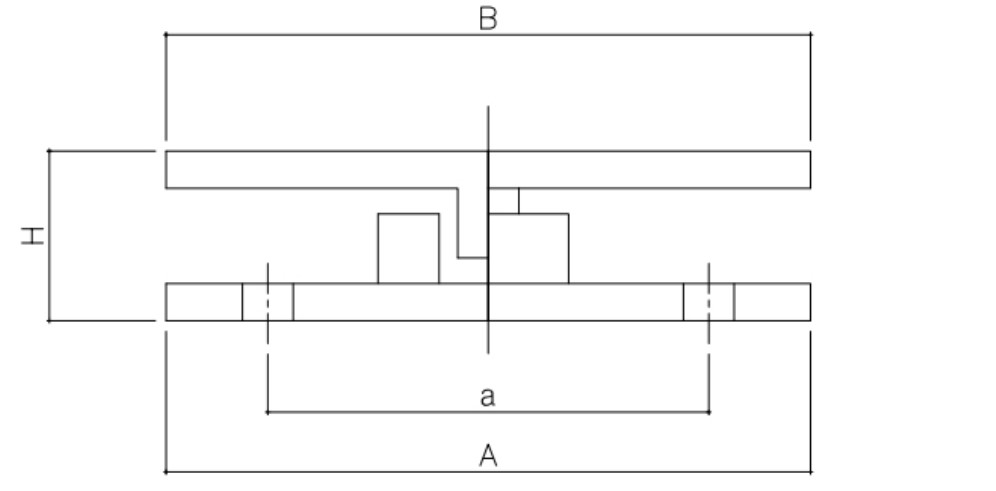
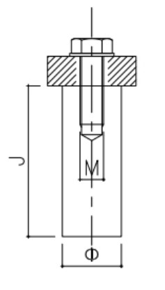
고정단 본문 품목사진 상세 정보 유간 조정 전단키(MR-ASK)란? 유간의 조정이 가능하여 교량받침의 변위와 동일하게 정밀하게 조정, 교량받침과 완벽한 하중의 분담으로 설계시 의도한 내진 보강 성능을 효과적으로 실현 가능한 내진 보강 장치 목록
본문 품목사진 상세 정보 유간 조정 전단키(MR-ASK)란? 유간의 조정이 가능하여 교량받침의 변위와 동일하게 정밀하게 조정, 교량받침과 완벽한 하중의 분담으로 설계시 의도한 내진 보강 성능을 효과적으로 실현 가능한 내진 보강 장치 목록